阿里云安装宝塔7.02
1、阿里选择安装系统,这里是centos7.4

2、下图所示打开一下路径,配置安全组。


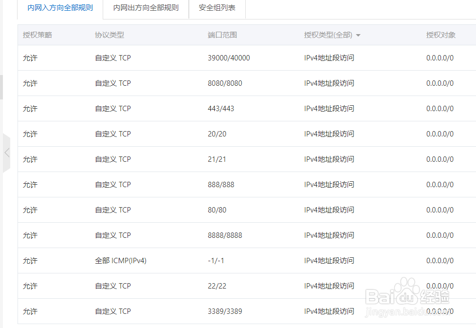
3、安全组添加,8888,开放所有IP访问。

4、如需使用其他功能 你还需要放行如下

1、使用xshell输入ip地址和用户名等。

2、Centos安装命令
具体代码见官网。把代码粘贴到此处回车。图2安装中


3、提示:如下图,填写y,回车

4、安装中。静默等待。。

5、当出现下图安装结束,保存红框内的账号等

1、用浏览器打开刚才的地址输入用户名等

2、勾选,同意协议。点击进入面板

3、进入会提示安装服务器,可以根据自己的选择需求进行安装。

阅读量:180
阅读量:126
阅读量:183
阅读量:161
阅读量:87